- Home
- Defense
- Technical Products – Valves & Fittings
- Hose End Fittings & Adapters
- Straight Adapters - O.D. Tube
- 8300T-10-10 – Straight Adapters – O.D. Tube


8300T-10-10
8300T-10-10 – Straight Adapters – O.D. Tube
Specification
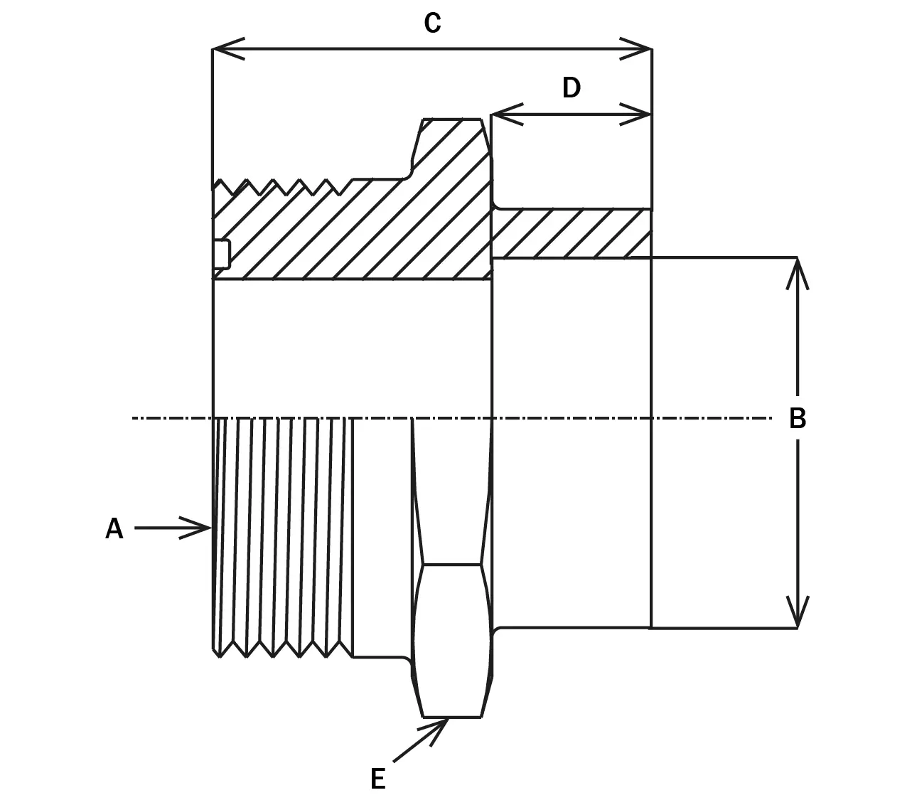
- CPV-O-Seal: F849
- C: 1-1/16
- D: 3/8
- Hex. E: 1-1/16
- Thread Size A: 1"-14
- Tube Od B: 5/8
Specification Table
| CPV-O-Seal | F849 |
|---|---|
| C | 1-1/16 |
| D | 3/8 |
| Hex. E | 1-1/16 |
| Thread Size A | 1"-14 |
| Tube Od B | 5/8 |



